栏目:正规股票配资平台 作者:怎么买股票 更新:2025-12-01 阅读:7
<怎么买股票>民生证券股权争夺落定,股票代码引关注;国联集团91亿竞得,券商牌照问题待解怎么买股票>

3月15日,民生证券34.71亿股股权法拍最终于12时59分落槌,由无锡市国联发展(集团)有限公司(下简称“国联集团”)以91.05亿元竞得上述股份。

根据京东司法拍卖平台的公告,此次拍卖共有3位竞拍者。公开信息显示,除国联集团外,浙商证券(.SH)、东吴证券(.SH)也参与到竞拍当中。
银柿财经注意到,国联集团此前已控股国联证券,同时拥有两张券商牌照后,将面临“同业竞争”和“一参一控”问题。
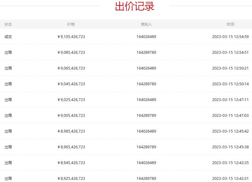
拍卖竞价异常激烈
民生证券股权拍卖时间为2023年3月14日10时至2023年3月15日10时,起拍价约58.65亿元。
银柿财经注意到,在拍卖开始后的相当长时间里,竞拍三方均未出价,直到14日晚上八点多才有竞拍者以拍卖底价出价。但考虑到交易金额较大的股权拍卖通常会在一拍流拍,此次民生证券股权拍卖并没有给二拍机会,也是其热度的体现。
自15日上午九点半起,三家竞拍者就开始了“你方唱罢我登场”的轮番竞价,竞拍价格也按照每次2000万元的加价稳步攀升。到15日十点的原定拍卖结束时间,三方仍未决出胜负,拍卖也进入了每次出价自动延时5分钟的“加时赛”。
“加时赛”中,三方加价更加频繁,平均每一到两分钟价格就有所刷新,竞拍场面也逐渐呈现白热化。12时07分,一位代码为的竞拍者在出价84.85亿元后退出了拍卖。
此后,本场剩余的两位竞拍者继续不断加价,但从加价频率来看,本场拍卖的“赢家”国联集团(代码)似乎底气更足。只要对方(代码)加价,国联集团立刻会在几秒钟时间内加价反超。12时54分民生证券股权争夺落定,股票代码引关注;国联集团91亿竞得,券商牌照问题待解,在国联集团报价91.05亿元后,场内陷入沉寂,另一方的出价最终定格在了90.85亿元。

在5分钟延时时间走完后,民生证券34.71亿股股权以91.05亿元,较起拍价溢价约55%“花落”国联集团。
“泛海系”让出控股权
民生证券的股权拍卖民生证券股票代码,事发“泛海系”旗下资产被执行。
3月13日民生证券股权争夺落定,股票代码引关注;国联集团91亿竞得,券商牌照问题待解,泛海控股(.SZ)发布诉讼进展公告称,济南市中级人民法院(以下简称“济南中院”)拟于3月14日至15日在京东司法拍卖平台拍卖其持有的民生证券约34.71亿股股权。
此前曾有案外人向济南中院提出异议,申请中止民生证券股份的执行,但拍卖仍如期举行。
作为曾经的控股股东,“泛海系”曾一度持有民生证券超过70%的股份。但随着近年来旗下金融公司持续踩雷多个投资项目,以及房地产业务的日渐式微,“泛海系”陷入债务危机,旗下资产不断被查封或执行。
值得注意的是,在2020至2021年,泛海控股曾分别向上海国资委以及上海沣泉峪企业管理有限公司合计出民生证券46.5亿股股份民生证券股权争夺落定,股票代码引关注;国联集团91亿竞得,券商牌照问题待解,前者对民生证券的持股比例也降至31.03%,但仍为彼时民生证券控股股东。此番34.71亿股股份被拍卖后,泛海控股的持股比例将进一步下降至不足1%,而竞得上述股份者将成为民生证券的第一大股东。
值得注意的是,国联集团控股民生证券还需通过经营者集中审查,并需经中国证监会核准。
对于此次拍卖结果,泛海控股表示,此次拍卖价格充分体现了民生证券的价值,此次国联集团成功拍下,表明了其对民生证券价值的充分认可,其旗下国联证券的股价在拍卖结束后呈快速上涨态势民生证券股票代码,也充分表明了市场对此次拍卖的接受态度。
泛海控股还提及,此次拍卖将有助于泛海化解当前的债务问题,相信也将会是泛海未来向好的一个转折点。回头来看,此前对民生证券股权的评估报告明显低估了其价值,在市场机制下,这种低估得到了纠偏,期望未来泛海旗下的资产也将会得到更为合理的估值。
两张牌照合规问题待解
银柿财经注意到,国联集团此前已控股券商国联证券,此番竞得民生证券股权后,国联集团就将同时控股2家券商。如何解决国联证券和民生证券的“同业竞争”和“一参一控”问题,将成为国联集团亟需面对的“幸福的烦恼”。
根据现行规定,无论是IPO还是上市后再融资,国联集团旗下两张券商牌照的同业竞争问题都将构成实质性障碍。同时,也违背了《证券公司监督管理条例 》中的相关规定,即同一实际控制人控制的多家机构参股证券公司的数量不得超过两家,其中控股证券公司的数量不得超过一家,也就是所谓的“一参一控”要求。
一般而言民生证券股票代码,同一股东名下同时控股两家券商时,进行合并重组是可选项之一。目前首创集团旗下的首创证券(.SH)和第一创业(.SZ),还有平安集团旗下平安证券和方正证券(.SH),都面临“同业竞争”和“一参一控”问题,此前也都分别传出过合并传闻。
在国联集团竞得民生证券股权后,国联证券午后股价直线拉升,一度涨超9%,或亦与合并预期有关。
对于同业竞争影响及后续安排,银柿财经多次致电国联证券证券部,截至发稿尚未接通。
相关文章
最新发布
- 外资在奇虎360有无决策权?私有化后股权结构解析,回归A股影响几何?
- 理财产品怎么买?三步教你选对产品,避开风险
- 农业板块成功挂牌是什么意思?解析企业登陆资本市场的意义与机遇
- 合肥写字楼投资新机遇:华润布局与市场前景分析
- 民生证券股权争夺落定,股票代码引关注;国联集团91亿竞得,券商牌照问题待解
- 公司注册资金多好还是少好?参考行业资质,还需权衡风险与印花税
- 稳健收益首选!本基金投资范围全解析:股票、债券、衍生品全覆盖
- 国联证券收购民生证券:投行业务迎重大突破,券商整合进入新阶段
- 金融五篇大文章:科技金融、绿色金融、普惠金融、养老金融、数字金融,推动高质量发展
- 迷茫?不想做小事!双11释放家电业两极分化信号:速度与耐力如何平衡?
点击排行
本站推荐
-
外资在奇虎360有无决策权?私有化后股权结构解析,回归A股影响几何?
-
理财产品怎么买?三步教你选对产品,避开风险
-
农业板块成功挂牌是什么意思?解析企业登陆资本市场的意义与机遇
-
合肥写字楼投资新机遇:华润布局与市场前景分析
-
民生证券股权争夺落定,股票代码引关注;国联集团91亿竞得,券商牌照问题待解
-
公司注册资金多好还是少好?参考行业资质,还需权衡风险与印花税
-
稳健收益首选!本基金投资范围全解析:股票、债券、衍生品全覆盖
-
国联证券收购民生证券:投行业务迎重大突破,券商整合进入新阶段
-
金融五篇大文章:科技金融、绿色金融、普惠金融、养老金融、数字金融,推动高质量发展
-
迷茫?不想做小事!双11释放家电业两极分化信号:速度与耐力如何平衡?

